cam tıkaç nedir
Cam tıkaçlar, cam panelleri monte etmek ve desteklemek için kullanılan bir tür metal bağlantı elemanıdır. Çeşitli şekillerde, boyutlarda ve kaplamalarda mevcutturlar.s.
Musluğun şekli farklı yere göre tasarlanırken, tıkacın boyutu ve bitişi kullanılan camın boyutuna ve kalınlığına bağlı olacaktır. Normalde Easiahome'daki tıkaçlar 12 mm cam panelleri monte etmek için kullanılır. Aşağıdaki pasajda, vida ile zemine montaj, duvara montaj ve beton zeminlere veya ahşap zeminlere sabitleme gibi spigot tiplerini tanıtacağız.
Malzemeler için: tıkaçlar genellikle dubleks 2205, 316L, 316, 304 ve benzeri gibi paslanmaz çelikten yapılır, ancak pirinç ve diğer malzemelerde de bulunabilir.
Farklı tipte çıtçıtlar
Zemin modellerine monte edin:
ASD-1,ASD-3,ASD-4—yüksek binalar için kullanılır
veya yüzme havuzları
ASD-2,188SD-SP—çok ekonomiktir,
Yüzme havuzları
ADJ-BVL-GS,ADJ-STR-GS—merdivenler için kullanılır
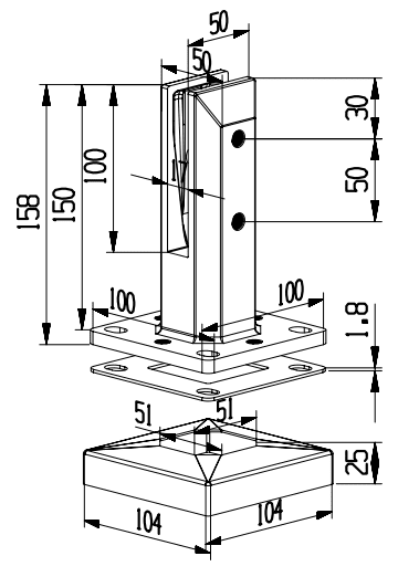
ADS-1'in parametresi:
Çıkış boyutu: 50x50x158mm
Malzeme: 2205
Ağırlık:2.08kg (aksesuar dahil)
Cam panel kalınlığı: 12 mm'den az


Avantajlar:
* Ürün kıskaç ağzı ve taban kısmında ayarlanabilir fonksiyona sahiptir. Zemin pürüzsüz olmadığında bile kurulumu çok daha kolaylaştırırlar.
*Ürün kaidesinin montaj delikleri oval delikler olup zeminde önceden açılmış deliklerin merkez mesafesine belli bir tolerans vardır.
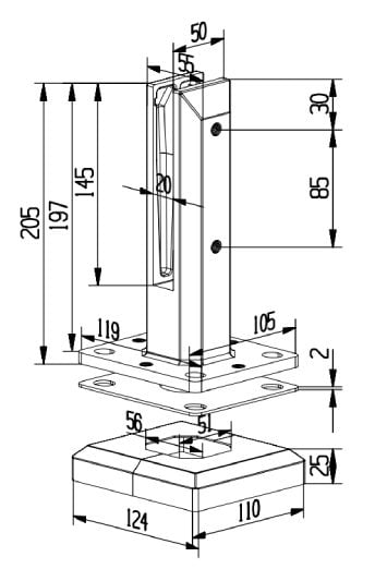
ADS-3'in parametresi:
Çıkış boyutu: 55x50x205mm
Malzeme: 2205
Ağırlık:2.3kg (aksesuar dahil)
Cam panel kalınlığı:
12mm'den 15.04mm'ye
Avantajlar:
*Ürün kaidesinin montaj delikleri
belirli bir toleransa sahip oval delikler
önceden delinmiş malzemenin merkez mesafesi için
yerdeki delikler.
*Taban kapağı muyludan yarılmıştır,
kurulumu çok daha kolay.


ADJ-BVL-GS'nin parametresi:
Çıkış boyutu: 50x50x200mm
Malzeme: 2205
Ağırlık:2.23kg (aksesuar dahil)
Cam panel kalınlığı:
12mm daha az
Avantajlar:
*Ürün ayarlanabilir bir fonksiyona sahiptir.
kelepçe ağzı ve taban. Onlar yapar
zemindeyken bile kurulum çok daha kolay
pürüzsüz değil
*Ürün 3 farklı altlık ile donatılmıştır.
35°'yi karşılayabilen ayırıcılar
(isteğe bağlı ara parçalar 30°, 40°) merdiven
* Ürün, mükemmel şekilde hareket edebilen merdivenler için tasarlanmıştır.
merdivenleri ve camı sığdırarak kurulumu daha güzel hale getirin.


Zemin modellerine monte edin:
LS-ASC,188SC285——yüksek binalar veya yüzme havuzları için kullanılır
188SC285-P,188SC240-SP——çok ekonomiktir, yüzme havuzları için kullanılır.
Kurulum yöntemi:
Zeminde delikler açmak gereklidir
kurulumdan önce. Ve sonra bunları düzeltin
dolgu malzemeleri.


188SC285'in parametresi
Çıkış boyutu: 50x50x285mm
Malzeme: 2205
Ağırlık:2.11kg (aksesuar dahil)
Cam panel kalınlığı:
12mm daha az
Avantajlar:
*Ürün ayarlanabilir bir fonksiyona sahiptir.
kelepçe ağzı. Onlar yapar
zemindeyken bile kurulum çok daha kolay
pürüzsüz değil
* Ürün mükemmel yük taşıma etkisine sahiptir
ve yük taşıma gereksinimini karşılayabilir
80kg veya daha fazla.


Duvarların dışına monte edin
ADJ-GW-GS, ayırma serisi —— için kullanılır
havuzlar, merdivenler ve cam perde duvarlar


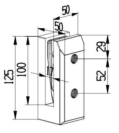
ADJ-GW-GS parametresi
Çıkış boyutu: 50x50x125mm
Malzeme: 2205
Ağırlık: 1.5 kg (aksesuar dahil)
Cam panel kalınlığı:
12mm daha az
Avantajlar:
* Ürün yan tarafa monte edilmiştir.
bina
*Ürün ayarlanabilir bir fonksiyona sahiptir.
kelepçe ağzı. Onlar yapar
zemindeyken bile kurulum çok daha kolay
pürüzsüz değil
* Ürün mükemmel yük taşıma etkisine sahiptir
ve yük taşıma gereksinimini karşılayabilir
100kgs veya daha fazla.


dubleks 2205, 316 ve 304 arasındaki farklar
Bu çeliklerin üçü de benzer özelliklere sahipken, belirli bir proje için bir çelik seçerken dikkate alınması gereken bazı temel farklılıklar vardır.
Duplex 2205, östenit ve ferritten oluşan iki fazlı bir mikro yapıya sahip paslanmaz çelik bir alaşımdır. Diğer paslanmaz çelik kaliteleri ile eşsiz bir yüksek mukavemet ve korozyon direnci kombinasyonu sunar. Genellikle yüksek binalar, kimyasal ve petrokimya işleme, petrol ve gaz çıkarma, deniz ve kıyı ortamları gibi yüksek mukavemet ve korozyon direncinin gerekli olduğu uygulamalarda kullanılır.
Çoğu uygulamada kullanılan en yaygın paslanmaz çelik kalitesi 316'dır. İyi korozyon direnci, mukavemeti ve şekillendirilebilirliği olan östenitik bir paslanmaz çeliktir. Ayrıca birçok yiyecek ve içecek uygulamasının yanı sıra tıbbi ve denizcilik ortamlarında da yaygın olarak kullanılmaktadır. Korozyona karşı 304'ten daha dayanıklıdır, ancak yüksek sıcaklıklara karşı daha az dayanıklıdır.
Son olarak, 304, genel amaçlı uygulamalar için en yaygın kullanılan paslanmaz çelik kalitesidir. Mükemmel korozyon direncine ve şekillendirilebilirliğe sahip östenitik bir paslanmaz çeliktir. Genellikle mutfak ve gıda işleme uygulamalarında ve tıbbi ortamlarda kullanılır. Ayrıca yüksek sıcaklıklara karşı oldukça dayanıklıdır ve bu da onu ısının sorun olabileceği uygulamalar için iyi bir seçim haline getirir.
Bir paslanmaz çelik kalitesi seçerken, projenizin özelliklerini ve gereksinimlerini dikkate almak önemlidir.
Duplex 2205, üçü arasında en yüksek mukavemeti ve korozyon direncini sunarak onu zorlu ortamlar için uygun hale getirir. 316, çoğu uygulama için iyi bir seçimdir ve bir güç ve korozyon direnci dengesi sunar. 304 en ekonomik seçenektir ve birçok genel amaçlı uygulama için uygundur.
Sonuç olarak, her bir paslanmaz çelik sınıfı, onu farklı uygulamalar için uygun kılan kendine özgü özelliklere sahiptir. Dubleks 2205, 316 ve 304, birçok proje için uygun seçeneklerdir. Bir paslanmaz çelik kalitesi seçerken, en iyi seçimi belirlemek için projenizin özelliklerini ve gereksinimlerini göz önünde bulundurmak önemlidir.






